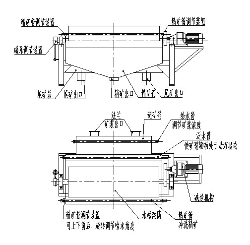
逆流型磁選機的簡圖
逆流型磁選機的簡圖,逆流型磁選機給礦箱帶給料管,給料入口段可改善給料的分布,使礦漿沿滾筒全長進料;逆流型磁選機分選區長;無孔塞.全寬圍堰,可調節式尾礦溢流排料,可手動控製液位,允許給礦液流波動.

逆流型儲槽適用於處理中-高密度介質 - 含固量30%-50%.粒度5mm(4目)的介質,逆流型磁選機儲槽具有回收率極高的特點,處理量高於DW型.但CR型的脫水區短,精選性能較弱.與DM型相比,CR型所回收的介質比重較低.
1.逆流型磁選機的特點
1.逆流型磁選機的特點
1.1公司開發了砂選鐵磁選機設備,選用Nd-Fe-B複合磁係統精工製造,磁選機在用戶實踐中反複提高除鐵效果,具有大量的加工,高效回收特性.
1.2設備節能環保規劃,減少資金,快速獲利.幹砂係列具有振動篩和運輸設備,叉車給料方便,濕砂和濕砂分離兩係列,係列砂泵抽料,也可安裝在采砂船,河流,沙灘,沙,沙等地,不固定任何時間拖曳,90-150立方米的材料或更多.
1.3材料篩分後,細砂顆粒以高磁力均勻分布在轉鼓外表麵,高級鐵砂通過高磁力吸附在轉筒表麵,並通過轉盤輸送到下部圓筒.輸送帶到集中區,在此期間非磁性材料,磁效不直接傳輸到尾礦區,達到海鐵鐵提取的目的.
2.逆流型磁選機的簡圖
2.逆流型磁選機的簡圖
相關資訊
同類文章排行
- 磁選機裏麵構造圖片是什麽樣子的呢
- 磁選機品位低如何提高
- 香蕉视频APP下载磁鐵排列圖
- 哪裏有賣二手的渦電流金屬分選機
- 磁選機裏麵構造圖片
- 永磁對輥式磁選機
- 滾筒式磁選機的內部結構
- 香蕉视频三级片代理加盟
- 永磁筒式磁選機適用範圍及優缺點介紹
- 香蕉视频三级片安全操作規程
- 浙江蕭山磁選滾筒內部結構圖
- 永磁筒式磁選機設備型號及具體參數
- 渦電流磁輥結構圖,如何分選銅鋁
- 磁選機的入料濃度如何確定,介質如何檢測
- 順流磁選機跑尾怎麽處理
- 永磁內置驅動帶式輸送機滾筒簡單介紹
- 日常使用濕式磁選機在工作中有時會出現噪音大的問題該如
- 順流型磁選機的結構及原理
- 半逆流式磁選機示意圖【圖文】
- ctb永磁筒式磁選機結構及原理